CÔNG TY CỔ PHẦN H-GROUP
Địa chỉ: Số 12 ngõ 942 đường Láng, quận Đống Đa, TP Hà Nội
Điện Thoại: 024 8582 2159 - Fax: 024 3791 7621
Email:sales@lavme.vn - website: lavme.vn
TRANG CHỦ
LIÊN HỆ
TUYỂN DỤNG
DỊCH VỤ
DOWNLOAD
TIN TỨC
GIỚI THIỆU
TRANG CHỦ
LIÊN HỆ
TUYỂN DỤNG
DỊCH VỤ
DOWNLOAD
TIN TỨC
Năng lực tạo nên giá trị - Chuyên sâu cho từng sản phẩm
Thiết bị kiểm tra
Máy kiểm tra mối hàn
Thiết bị kiểm tra bê tông
Máy nội soi công nghiệp
Thiết bị kiểm tra cáp thép
Thiết bị phân tích kim loại
Máy quang phổ UV Vis
Máy Kiểm tra kéo nén
Thiết bị kiểm tra ô tô
Thiết bị kiểm tra thực phẩm
Máy cân tâm đồng trục
Máy quay phim tốc độ cao
Máy phân tích quang phổ
Thiết bị phân tích sinh hóa
Camera chụp ảnh nhiệt
Thiết bị phân tích nước
Thiết bị kiểm tra động cơ
Máy thử lò xo
Thiết bị kiểm tra vòng bi
Thiết bị kiểm tra composite
Thiết bị kiểm tra đường ống
Thiết bị đo lường
Máy đo lực căng
Máy đo chiều dày
Máy đo độ dày sơn
Thiết bị đo áp suất
Máy đo lưu lượng
Thiết bị đo mức
Máy đo khí
Máy đo nồng độ cồn
Máy đo bụi
Máy đo ánh sáng
Máy đo độ ồn
Thiết bị trắc địa
Cờ lê lực
Máy đo màu
Thiết bị đo hàm lượng dầu trong nước
Thiết bị đo giãn nở vì nhiệt
Thiết bị đo điện tử
Máy đo độ ẩm
Máy đo độ nhớt
Máy đo pH
Thiết bị đo điện
Máy đo 3 chiều
Dụng cụ đo kích thước
Máy đo momen xoắn
Lực kế
Máy đo lực ma sát
Cân kỹ thuật
Máy đo tốc độ
Máy đo độ rung
Máy đo độ cứng
Máy đo độ nhám
Máy đo độ không tròn
Máy đo góc tiếp xúc
Máy đo nhiệt độ
Thiết bị nâng hạ
Xe nâng
Nam châm nâng
Tời điện
Pa lăng
Cầu trục
Cầu nâng
Dụng cụ nâng hạ khác
Thiết bị luân chuyển
Băng tải
Vít tải
Gầu tải
Ru lô
Con lăn
Hệ thống hút thổi liệu
Máy hút hơi dầu công nghiệp
Máy dán băng dính
HỖ TRỢ TRỰC TUYẾN
Tel:
Fax:
Tel: 04.8582.2159
04.3791.7621
Fax: 04.3791.7621
Phòng kinh doanh
0984 322 364
Email:
sales@lavme.vn
Phòng kỹ thuật
0936 36 8731
Email:
hotrokythuat@lavme.vn
Phòng kế toán
0987 674 866
Email:
accounting@lavme.vn
Phòng xuất nhập khẩu
0988 666 281
Email:
import-export@lavme.vn
Phòng dự án
0986 588 389
Email:
du.an@lavme.vn
Phòng IT
034 959 8048
Email:
IT@lavme.vn
THỐNG KÊ TRUY CẬP
Đang online
40
Tổng lượt truy cập
5.964.683
Trang chủ
Thiết bị đo lường, thiết bị kiểm tra
Tin tức
Nối sợi cáp quang - đo lực căng cáp
(Ngày đăng: 11/18/2016 - lượt xem: 1053)
Sợi cáp quang:
a) Nối sợi quang thực hiện bằng thiết bị hàn nối sợi quang theo phương pháp hàn hồ quang hoặc hàn cơ khí.
b) Sau khi hàn nối sợi quang xong phải cẩn thận đưa mối hàn vào trong khay hàn. Bán kính cong của sợi quang phải bảo đảm lớn hơn 20 lần đường kính cáp.
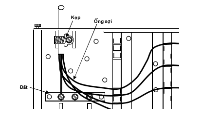
c) Sau khi tất cả các sợi quang đã được hàn, cần giữ cho cho các sợi chắc chắn bằng các ống hoặc các bọc đệm đặt trên khay (xem Hình 1). Các sợi riêng lẻ được cuộn quanh khay hàn (xem Hình 2). ống bao sợi và đệm sợi phải được xếp vòng quanh giá đỡ. Cáp và dây gia cường được giữ chặt nhờ các kẹp và vít.
d) Khi các
mối hàn
thoả mãn yêu cầu ta đóng măng sông lại
Hình 1 ống bao sợi và đệm sợi
Hình 2 cuộn các sợi riêng lẻ quanh khay hàn
Lắp đặt măng sông cáp quang
a) Măng sông cáp quang treo được bố trí tại các cột. Cáp quang tại cột có treo măng sông cần để mỗi đầu dôi ra tối đa 10 m để phục vụ hàn nối. Phần cáp quang dư được bó vòng với đường kính không quá 0,6 m. Khoảng cách giữa các vòng cáp dự phòng trên cùng một tuyến phải lớn hơn 200 m.
b) Hộp măng sông phải cần được kiểm tra theo tài liệu kỹ thuật trước khi lắp đặt. Măng sông được lựa chọn tuỳ thuộc vào loại cáp quang sử dụng.
c) Cuốn băng dính vào điểm lắp kẹp cáp phù hợp với loại măng sông đã lựa chọn.
d) Lắp kẹp cáp không để cáp gập quá bán kính uốn cong cho phép.
e) Sau khi xiết chặt kẹp vào cáp, cần vít chặt dây gia cường vào vít định vị hoặc/và tiếp đất dây gia cường.
f) Việc hàn nối các sợi quang theo các trình tự đã nêu ở trên.
g) Bôi mỡ lên thành của vỏ trong măng sông.
h) Bôi mỡ vào mặt trong các cổng của gioăng nhựa.
i) Đặt gioăng nhựa rồi ấn chặt nó lên thành vỏ trong măng sông.
j) Bôi mỡ lên mặt trên của gioăng nhựa.
k) Bọc vỏ trong măng sông bằng lưới đệm.
l) Đóng nắp măng sông và vít chặt.
m) Treo măng sông lên cột (xem Hình 3).
Hình 3 Lắp đặt măng sông cáp trên cột
Lắp cáp quang tại giá ODF (Optical Distributions Frame)
a) Sau khi kiểm tra hộp giá ODF theo tài liệu kỹ thuật bảo đảm yêu cầu, thực hiện gắn hộp giá ODF lên khung giá. Làm vệ sinh cáp. Bóc tuốt vỏ cáp quang rồi quần băng dính vào điểm lắp kẹp cáp. Khi cuốn cần lắp thêm một ống đệm để tránh kẹp trực tiếp vào vỏ cáp. Chuẩn bị đầu cáp xem Hình 4.
Hình 4 chuẩn bị đầu cáp
Hình 5 lắp đặt kẹp cáp
b) Lắp kẹp cáp phải bảo đảm khi đưa cáp vào không bị gập quá bán kính uốn cong cho phép, xiết chặt kẹp vào cáp, vít chặt dây gia cường vào thanh định vị hoặc/và tiếp đất dây gia cường. Định vị ống lõng vào khe quy định, đậy nắp ngăn ống sợi không để kẹp vào ống sợi. Lắp đặt kẹp cáp xem Hình 5
c) Phân nhóm sợi quang đặt trong ống nhựa theo từng nhóm. Lắp khay chứa sợi quang vào giá. Định vị dây nối quang vào khay chứa sợi quang, đánh dấu các dây nối.
d) Phân nhóm dây nối quang.
e) Đưa sợi quang đã hàn đạt chất lượng vào khay đựng sợi quang tuyệt đối không để sợi quang cong quá bán kính uốn cong cho phép.
f) Đặt ống co nhiệt mối hàn đúng vị trí theo thứ tự trong gá ống bảo vệ.
g) Lắp bộ nối quang trên bảng tiếp hợp. Đánh dấu tên cho từng vị trí bộ nối quang.
h) Định vị cáp trên đầu giá cáp ODF
Rất mong trở thành nhà cung cấp
thiết bị đo lường
và hỗ trợ công tác kiểm định cho quý khách hàng. Xin liên hệ theo địa chỉ dưới đây để nhận được tư vấn model phù hợp nhất :
CÔNG TY CỔ PHẦN THIẾT BỊ NÂNG CHUYỂN & ĐO KIỂM
Địa chỉ : Số 12/942, đường Láng, quận Đống Đa, Hà Nội
Tel : 04.8582.2159 Fax : 04.3791.7621
Website :
lavme.vn
Email :
sales@lavme.vn
Contact : Kỹ sư
Hứa Anh Tuấn
Cell :
0936 36 8731
Email :
huatuanmtp@gmail.com
Về đầu trang
Về trang trước
Bản in
Gửi email
Tin liên quan:
* Máy đo khí công nghiệp (3/31/2025 3:45:33 PM)
* Giới thiệu về cọc khoan nhồi (5/15/2024 9:25:37 AM)
* Một số loại thiết bị phổ biến được sử dụng để kiểm tra vòng bi (4/25/2024 3:14:19 PM)
* Lưu ý khi sử dụng máy đo lưu lượng (3/27/2024 3:35:59 PM)
* Phương Pháp Đo Độ Dày Kim Loại và Ứng Dụng Trong Công Nghiệp (3/1/2024 9:34:11 AM)
* Máy Đo Khí - Thiết Bị Quan Trọng Trong Quản Lý An Toàn Môi Trường (1/2/2024 3:09:46 PM)
* Lý do chúng ta cần đo độ dày sơn khô là gì? (12/27/2023 3:29:29 PM)
* Máy đo độ dày lớp sơn phủ khô (9/27/2023 10:28:07 AM)
* Đo lưu lượng chất lỏng sử dụng phương pháp nào? (7/20/2023 10:08:47 AM)
* Cảm biến đo lưu lượng (6/20/2023 8:38:17 AM)